R7 ダイオキシン類特論 問17
問題
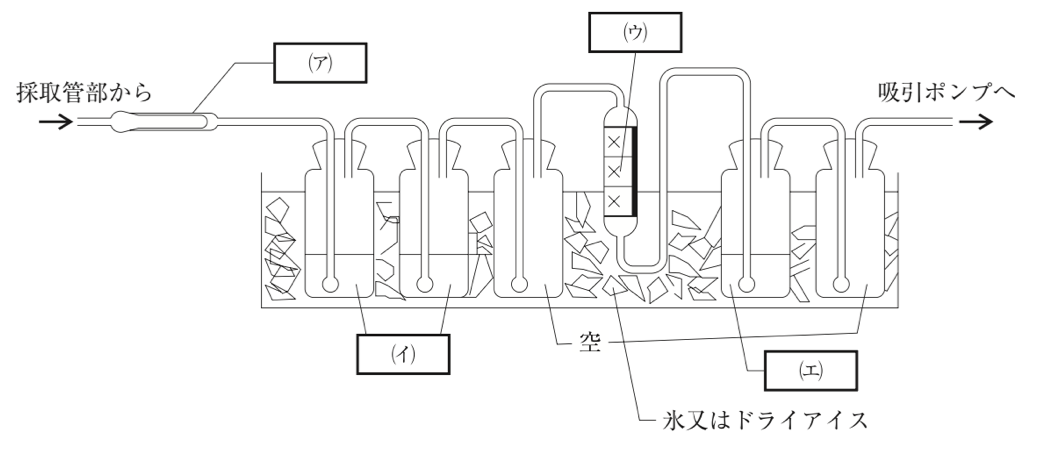
JIS K 0311 に示されている JIS I 形装置(例)の構成として,(ア)~(エ)の中に挿入すべき語句の組合せとして,正しいものはどれか。
| (ア) | (イ) | (ウ) | (エ) |
- ⑴ | 円筒ろ紙 | ヘキサン洗浄水 | 吸着剤カラム | ジエチレングリコール |
- ⑵ | ガラスウール | ヘキサン洗浄水 | アルミナカラム | ジエチレングリコール |
- ⑶ | 円筒ろ紙 | ヘキサン洗浄水 | 吸着剤カラム | ヘキサン洗浄水 |
- ⑷ | ガラスウール | ジエチレングリコール | 吸着剤カラム | ヘキサン洗浄水 |
- ⑸ | 円筒ろ紙 | ジエチレングリコール | アルミナカラム | ヘキサン洗浄水 |
解説
JIS K 0311「排ガス中のダイオキシン類測定方法」に示されている、JIS Ⅰ形採取装置の構成に関する問題です。装置の各部位(ア~エ)に該当する語句は以下の通りです。
ア:円筒ろ紙
排ガス中の粒子状物質(ばいじん)に付着しているダイオキシン類をろ過捕集するためのフィルターです。採取後、ダイオキシン類を回収するためにソックスレー抽出などが行われます。
イ:ヘキサン洗浄水
ろ過部を通過したガスに含まれる成分を捕集するための、前段の液体捕集部(吸収瓶)に使用される液体です。
ウ:吸着剤カラム
液体捕集部でも捕集しきれないガス状のダイオキシン類を確実に捕集するために設置されます。吸着剤としてポリウレタンフォームなどが充填されたカラムが用いられるのが一般的です。
エ:ジエチレングリコール
吸着剤カラムの後流にある液体捕集部に使用される有機溶媒です。抽出操作において、ジエチレングリコールなどの有機溶媒を用いた液体捕集部からの抽出方法が規定されていることからも、この装置構成の一部であることが確認できます。
令和3年度 問19の解説も同様の事項が問われています。ろ紙の使用や吸着剤カラムの設置位置は試験でよく問われるポイントであり、液体捕集部は異なる性質の物質を捕集するために(イ)と(エ)で異なる構成(液体)をとると推測することで、選択肢を絞り込むことができます。
したがって、(ア)円筒ろ紙、(イ)ヘキサン洗浄水、(ウ)吸着剤カラム、(エ)ジエチレングリコール という組み合わせの ⑴ が正解となります。
正解.
1
次の問題だよ~♪
前の問題だよ~♪
目次に戻るよ~♪
